Τρίτη 12 Μαϊου 2026
weather-icon 25o
Η Apple θα μας σώσει από… τα ψίχουλα στο πληκτρολόγιό μας

Η Apple θα μας σώσει από… τα ψίχουλα στο πληκτρολόγιό μας

Οι μηχανικοί της Apple είναι εδώ για εμάς…

Ανακαλύψτε περισσότερα άρθρα στα αποτελέσματα αναζήτησης

Προσθήκη του in.gr στην Google

Ρίξτε μια ματιά κάτω από τα πλήκτρα του πληκτρολογίου σας… Ξέρω εγώ τι θα βρείτε. Ψίχουλα. Είναι 100% σίγουρο.

Σε περίπτωση που το χρησιμοποιείτε για πάνω από… μια μέρα θα έχει μέσα ψίχουλα.

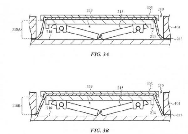
Σε αυτό το πρόβλημα, καθώς και σε έναν φόβο -που έχουμε- ήρθε να δώσει απάντηση η Apple. Τι έχει κάνει; Έχει σχεδιάσει ένα πληκτρολόγιο που θα είναι ανθεκτικό στον χυμένο καφέ και τα ψίχουλα, δυο από τις μεγαλύτερες απειλές ενός υπολογιστή.

Ο χυμένος καφές είναι τόσο καταστροφικός για ένα πληκτρολόγιο, σαν να πέφτει ένα πολύ βαρύ αντικείμενο πάνω του.

Επιπλέον, υπάρχουν και τα ψίχουλα που πέφτουν από τα τρόφιμα και τα οποία είναι εξίσου καταστροφικά.

Ευτυχώς, οι μηχανικοί της Apple είναι εδώ για εμάς… Τι έχουν κάνει; Έχουν τοποθετήσει μια λεπτής προστατευτική ταινία ανάμεσα στα πλήκτρα και τον μηχανισμό. Έτσι αμέσως δημιουργείται ένα «φράγμα», εμποδίζοντας τα ψίχουλα από το να εισχωρήσουν ανάμεσα στα πλήκτρα και να τα καταστρέψουν.

Ακολουθήστε το in.gr στο Google News και μάθετε πρώτοι όλες τις ειδήσεις

Προσθήκη του in.gr στην Google

in.gr | Ταυτότητα

Διαχειριστής - Διευθυντής: Λευτέρης Θ. Χαραλαμπόπουλος

Διευθύντρια Σύνταξης: Αργυρώ Τσατσούλη

Ιδιοκτησία - Δικαιούχος domain name: ALTER EGO MEDIA A.E.

Νόμιμος Εκπρόσωπος: Ιωάννης Βρέντζος

Έδρα - Γραφεία: Λεωφόρος Συγγρού αρ 340, Καλλιθέα, ΤΚ 17673

ΑΦΜ: 800745939, ΔΟΥ: ΚΕΦΟΔΕ ΑΤΤΙΚΗΣ

Ηλεκτρονική διεύθυνση Επικοινωνίας: in@alteregomedia.org, Τηλ. Επικοινωνίας: 2107547007

ΜΗΤ Αριθμός Πιστοποίησης Μ.Η.Τ.232442

Τρίτη 12 Μαϊου 2026
Cookies